|
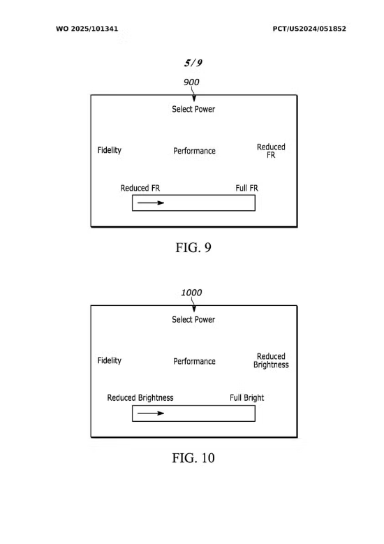
据外媒Gamerant报道,索尼最近公布的一项专利揭示了一套全新的硬件系统,该系统可以调整主机性能,选择性地实现各种功耗模式,包括有助于最大限度提高运行效率的“低功耗模式”。这项专利与索尼近期不断涌现的一系列技术专利一样,这些专利旨在改进硬件和软件,并有可能在未来主机的更新和发布中得以实现。 根据一项于2024年10月首次提交、并于2025年5月15日公布的专利,索尼正在研发一种低功耗模式硬件系统,该系统可以自动调整视频游戏的帧率和分辨率,以优化主机性能。 其中一项关键功能是“低功耗模式”,它会降低某些性能指标,以保持主机以最佳效率运行。目前的PlayStation游戏主机缺乏此功能,因此这项专利或许可以作为索尼为PlayStation 6准备的参考。 特别值得注意的是,该专利的发明人是Mark Cerny,他曾担任PlayStation Vita、PS4、PS5和PS5 Pro的首席架构师。Cerny参与PS6的开发工作也就不足为奇了,尽管目前尚无法保证这项专利能够得到充分开发或应用。 Gamerant仔细研究了索尼主机的电源模式专利,发现其中展示了如何以滑动比例调整亮度、帧率和功耗。例如,如果玩家选择低功耗模式,他们可以选择在该操作模式下优先考虑保真度或性能。此外,专利展示了主机本身如何利用检测系统来确定功耗是否超过固定指标,并随后提示用户选择更改的电源策略。 索尼持续申请各种电子游戏技术专利,涵盖从新型手柄创新到主机性能模式的改进。这些硬件和软件开发成果是否会最终面向消费者推出仍有待观察,因此感兴趣的粉丝不妨持续关注索尼的官方更新。 |
